气动闸阀
一、 主要性能参数
公称压力 :1.6, 2.5,4 .0,6.4MPa
使用温度: -29 ~ 425 ℃(碳钢) -40 ~+ 550 ℃ (不锈钢)
公称通径: DN50 ~ 800mm
阀体材质 :304. 306.316L .WCB.HT200
连接法兰: JB/T79 . GB913 . HG20592
适用介质:空气、水、蒸汽、油及硝酸、醋酸等腐蚀性流体
作用方式:切断型,调节型 , 手动控制
电源电压: 220VAC 、 24VAC
输入信号 :4 ~ 20mA/1 ~ 5VDC
0 ~ 20mA/0 ~ 10VDC
|
吃
|
Z6S41H-25
|
Z6S41H-16
|
Z6S41T-10
|
|
公称通径 DN(mm)
|
50 ~ 600
|
40 ~400
|
40 ~400
|
|
适用介质
|
水、 蒸气
|
水、 蒸气
|
水、 蒸气
|
|
、油品
|
|
最高介质温度 ( ℃ )
|
425
|
425
|
200
|
|
气缸工作压力 ( 表 ) MPa
|
0.4 ~ 0.6
|
|
气缸工作压力 ( 表 ) MPa
|
0.4 ~ 0.6
|
二、 用途及使用范围
Z6S41 系列气动带手动 楔 式闸阀是具有气动执行机构(双层气缸,并带有缓冲机构)和手动及其保护机构(手动和 可 自锁的气动 - 手动转换装置)的低 支架明杆闸阀 。 该阀由于 采用双层气缸结构,其与单气缸式气动闸阀相比,提升力增大了一倍。这就从根本上解决了单气缸气动闸阀的某些阀体内 楔 死而打不开的弊病。而且,由于 该阀具备 缓冲机构,能有效地减速轻了关闭阀门时,由于活塞下行冲击而造成的阀板车密封面和阀体密封面的磨损,同时,也能避免闸板卡死的现象。
为了配合用户实现操作自动化,本公司除供应本系列产品之外,还可单独提供包括支架在内的气缸体,帮助用户对已有的种类繁多的手动闸阀进行改造,将双缸气动执行机构部分安装在手动闸阀的阀体大盖上,即可构成双缸式气动 - 手动两用闸阀。
由于其技术先进,性能可靠,操作切换和维修方便,已被石油、化工、冶金、电力、海运等部门作为输送气体、液体介质的管道开闭装置而广泛使用。
三、 结构原理
本系列产品以0.4~0.6MPa(表压)净化压缩空气作工作压力,推动活塞,带动闸板作垂直于流体的位移,实现开启开关闭阀门的目的。
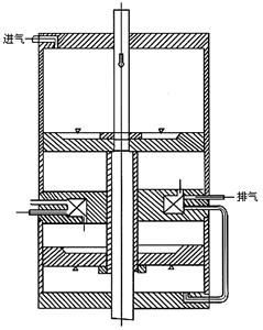
巧妙设计的双层气缸和缓冲机构
双层气缸和缓冲机构的工作原理,按闸板工作的四个阶段分述如下:
(附插原理图①、②、③、④)
1 、闸阀开启前阶段:上层气缸的活塞(以下简称上活塞)和下层气缸的活塞(以下简称下活塞)同时受力,阀杆在上、下活塞的推动下,以单活塞近二倍的提升力,克服闸板密封面和阀体密封面之间的静磨擦力 ,带动闸板上升。 压缩空气由上气缸的下气室,经由设置在隔板的特定通道,通过连通管,到达下气缸的下气室,推动上下活塞同时工作。下气缸上气室中的气体,经过设置在隔板内的另一特定通道。畅通无阻的排出气缸体外。
2 、闸阀开启的后阶段:在闸板稍稍开启以后,下活塞就运行到了上死点,闸板在上活塞的带动下,继续提升,直至到了全开位置。
3 、闸阀关闭的前阶段:在上活塞的推动下,闸板离开全开位置,开始下降。
4 、闸板关闭的后阶段:当上活塞碰到下活塞 凸 台,并带动下活塞一起继续下降时,由于下气缸上气室的进气通道和下气缸下气室的排气通道设有阻碍,明显地减慢了下行的速度,进至闸板下降到了全关位置。减缓闸板下行的冲击,自行可关严阀门,又不使阀板 楔 得过紧,同时,还保护了密封面,免受猛烈冲击而损坏。
灵活可靠的气动 - 手动转换机构 , 装气缸盖上部的气动 - 手动转换机构,在闸阀开启的关闭过程的任何位置上,都可十分方便的转动操作手柄,直接地进行由气动至手动或由手动至气动的操作方式的转换,转换操作手柄采用定位销式自锁设计,手柄定位后,可靠镇定。由电磁阀及其控制电路 或供风系统发生 故障时,不需其他辅助工具,即可迅速转换成手动操作状态,保证线路正常运行,避免事故发生。在新建工程的自控制系统未完成之前,本系列闸阀可以可靠地作为手动闸阀使用,动作时灵活轻快。
关阀时间可调通过调整,安装在隔板上的缓冲机构,还可以在一定范围内调整闸板关闭的时间。
可配用回讯器
工作状况( 1 ) -- 开阀初始阶段工作力 =2P 工作状况 ( 2 ) -- 开阀初始阶段工作力 =2P
工作状况( 4 ) -- 关阀终了阶段工作力 =P 工作状况( 3 ) -- 关阀初始阶段工作力 =P
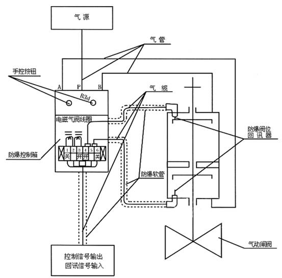
双缸式气动带手动 楔 式闸阀系统控制原理图
本阀可以 配用电的或气的 回讯器 ,用以发送阀门开关状态信息。因此,使用 本阀可以 实现远距离控制,集中控制和自动控制。
△耐腐防蚀的气缸 本阀的 气缸选用于无缝钢管制造,内表面镀以耐腐性硬铬,并经抛光处理,具有 磨擦力 小、不易锈蚀、高硬度、寿命长等优点。
△气缸中的密封圈 采用丁晴橡胶 ○形密封圈,密封性能可靠,维修时更换方便。
四、性能规范
1 、阀体性能
|
型号
|
公称压力 PN( MPa )
|
阀体试验压力
|
工作温度(℃)
|
|
PN( MPa )
|
120
|
200
|
225
|
250
|
300
|
350
|
400
|
425
|
|
强度试验
|
密封试验
|
工作压力 P( MPa )
|
|
Z6S41T-10
|
1.6
|
2.4
|
1.6
|
-
|
1.6
|
-
|
1.5
|
1.3
|
1.2
|
1
|
0.9
|
|
Z6S41H-25
|
2.5
|
3.8
|
2.5
|
-
|
2.5
|
-
|
2.3
|
2
|
1.8
|
1.6
|
1.4
|
|
Z6S41H-40
|
4
|
6
|
4
|
-
|
4
|
-
|
3.6
|
3.2
|
2.8
|
2.6
|
2.2
|
|
Z6S41H-64
|
6.4
|
9.6
|
6.4
|
-
|
6.4
|
-
|
5.7
|
5.2
|
4.6
|
3.8
|
3.6
|
2 、气缸性能
|
型号
|
公称压力
|
气缸密封试验压力
|
气缸工作压力
|
|
PN( MPa )
|
PN( MPa )
|
PN( MPa )
|
|
Z6S41T-10
|
0.6
|
0.6
|
0.4 ~ 0.6
|
|
Z6S41H-25
|
|
Z6S41H-40
|
|
Z6S41H-64
|
3 、耗气量
[ 净化压缩空气压力:0.4MPa(表)] 闸阀的气缸单程耗气量(以压缩空气体积计算)
|
气缸直径D(mm)
|
50
|
80
|
100
|
150
|
200
|
250
|
300
|
350
|
400
|
|
耗气量(m)
|
0.0023
|
0.0029
|
0.0033
|
0.0084
|
0.0169
|
0.0198
|
0.032
|
0.0636
|
0.0707
|
1、本阀主要由阀体、阀盖、闸板、阀杆、密封圈、双层气缸及其活塞、活塞杆、隔板连同缓冲机构、手动机构、气动-手动转换装置和阀盖填料装置等部分组成。
2、上活塞行至行程上端可顶上上回讯器,使之发讯;下活塞行之行程下端可顶下下回讯器,使之发讯,以作为闸阀开闭信息在中央操作室的模拟仪表盘上进行显示。
3、手轮上部的外伸指示杆的上升和下降,标志着该阀的闸板是处于提升状态还是下降状态。闸阀关闭时,外伸指示杆位于最低位置;反之,闸阀全开时,外伸指示杆位于最高位置。此即为本阀启闭状态的现场指示。
4、气缸盖上部装有气动-手动转换装置。将转换手柄顺时针方向提转到“气动定位孔定位,闸阀处于气动操作状态;反之,将转换手柄逆时针方向提转到“手动”定于孔处定位,闸阀即可进行手动操作。带锥齿轮的手柄转换方向相反。手动操作闸阀时,手轮旋向和普通手动阀一样,即顺时针转为关,逆时针转为开。带锥齿轮转动的相反。
主要零件材质
|
阀体、阀盖、阀板
|
铸钢
|
|
阀体及闸板的密封面
|
合金钢
|
|
阀杆
|
不锈钢
|
|
双头螺栓
|
35 号钢
|
|
气缸
|
20 号无缝钢管
|
|
活塞
|
铸铝合金
|
|
手动螺母
|
青铜
|
|
密封圈
|
石棉橡胶板
|
|
缠绕式金属石墨垫片
|
|
活塞环及轴环
|
耐油橡胶○型圈
|
|
填料函
|
石墨石棉绳
|
PN1.6MPa 主要连接尺寸和外形尺寸
|
DN
|
D
|
D1
|
D2
|
b
|
f
|
L
|
H
|
Ds
|
D0
|
Z-d
|
气源接头
|
重量 Kg
|
|
50
|
160
|
125
|
100
|
16
|
3
|
250
|
865
|
160
|
250
|
4月18日
|
M12 × 1.25
|
42
|
|
80
|
195
|
160
|
135
|
20
|
3
|
280
|
1100
|
160
|
300
|
8月18日
|
54
|
|
100
|
215
|
180
|
155
|
20
|
3
|
300
|
1200
|
160
|
350
|
8月18日
|
100
|
|
150
|
280
|
240
|
210
|
24
|
3
|
350
|
1380
|
219
|
400
|
8月23日
|
135
|
|
200
|
335
|
295
|
265
|
26
|
3
|
400
|
1580
|
273
|
400
|
12月23日
|
270
|
|
250
|
405
|
355
|
320
|
30
|
3
|
450
|
1710
|
273
|
400
|
12月25日
|
M20 × 1.5
|
350
|
|
300
|
460
|
410
|
375
|
30
|
4
|
500
|
1880
|
325
|
500
|
12月25日
|
480
|
|
350
|
520
|
470
|
435
|
34
|
4
|
550
|
2180
|
426
|
500
|
16-25
|
570
|
|
400
|
580
|
525
|
485
|
36
|
4
|
600
|
2325
|
459
|
550
|
16-30
|
900
|
|
450
|
640
|
585
|
545
|
40
|
4
|
650
|
2570
|
500
|
550
|
20-30
|
1560
|
|
500
|
705
|
650
|
608
|
44
|
4
|
700
|
2800
|
600
|
600
|
20-34
|
M24 × 1.5
|
1820
|
|
600
|
840
|
770
|
718
|
48
|
5
|
800
|
3010
|
600
|
600
|
20-41
|
M27 × 1.5
|
2850
|
PN2.5MPa 主要连接尺寸和外形尺寸
|
DN
|
D
|
D1
|
D2
|
b
|
f
|
L
|
H
|
Ds
|
D0
|
Z-d
|
气源接头
|
重量 Kg
|
|
50
|
160
|
125
|
100
|
20
|
3
|
250
|
865
|
160
|
250
|
4月18日
|
M12 × 1.25
|
42
|
|
80
|
195
|
160
|
135
|
22
|
3
|
280
|
1100
|
160
|
300
|
8月18日
|
54
|
|
100
|
230
|
190
|
160
|
24
|
3
|
300
|
1200
|
160
|
350
|
8月23日
|
105
|
|
150
|
300
|
250
|
218
|
30
|
3
|
350
|
1380
|
219
|
400
|
8月25日
|
190
|
|
200
|
360
|
310
|
278
|
34
|
3
|
400
|
1580
|
273
|
400
|
12月25日
|
280
|
|
250
|
425
|
370
|
332
|
36
|
3
|
450
|
1710
|
273
|
400
|
12月30日
|
M20 × 1.5
|
405
|
|
300
|
485
|
430
|
390
|
40
|
4
|
500
|
1880
|
325
|
500
|
16-30
|
535
|
|
350
|
550
|
490
|
448
|
44
|
4
|
550
|
2180
|
426
|
500
|
16-34
|
720
|
|
400
|
610
|
550
|
405
|
48
|
4
|
600
|
2325
|
459
|
550
|
16-34
|
1200
|
|
450
|
660
|
600
|
555
|
50
|
4
|
650
|
2570
|
500
|
550
|
20-34
|
1910
|
|
500
|
730
|
660
|
610
|
52
|
4
|
700
|
2800
|
650
|
600
|
20-41
|
M24 × 1.5
|
2250
|
|
600
|
840
|
770
|
718
|
56
|
5
|
800
|
3010
|
730
|
600
|
20-41
|
M27 × 1.5
|
3100
|
PN4.0MPa 主要连接尺寸和外形尺寸
|
DN
|
D
|
D1
|
D2
|
b
|
f
|
L
|
H
|
Ds
|
D0
|
Z-d
|
气源接头
|
重量Kg
|
|
50
|
160
|
125
|
100
|
20
|
3
|
250
|
890
|
160
|
300
|
4月18日
|
M12×1.25
|
62
|
|
80
|
195
|
160
|
135
|
22
|
3
|
310
|
1150
|
219
|
350
|
8月18日
|
130
|
|
100
|
230
|
190
|
160
|
24
|
3
|
350
|
1300
|
273
|
400
|
8月23日
|
155
|
|
150
|
300
|
250
|
218
|
30
|
3
|
450
|
1450
|
273
|
400
|
8月25日
|
240
|
|
200
|
375
|
320
|
282
|
38
|
3
|
550
|
1660
|
325
|
500
|
12月30日
|
M20 × 1.5
|
280
|
|
250
|
445
|
385
|
345
|
42
|
3
|
650
|
1860
|
325
|
500
|
12-34
|
305
|
|
300
|
510
|
450
|
408
|
46
|
4
|
750
|
2010
|
426
|
500
|
16-34
|
580
|
|
350
|
570
|
510
|
465
|
52
|
4
|
850
|
2350
|
459
|
550
|
16-34
|
770
|
|
400
|
655
|
585
|
535
|
58
|
4
|
950
|
2530
|
600
|
550
|
16-41
|
1260
|
|
450
|
680
|
610
|
560
|
60
|
4
|
1050
|
2780
|
650
|
600
|
20-41
|
M24 × 1.5
|
1680
|
|
500
|
755
|
670
|
612
|
62
|
4
|
1150
|
3100
|
730
|
600
|
20-48
|
M27 × 1.5
|
2150
|
PN6.4MPa 主要连接尺寸和外形尺寸
|
DN
|
D
|
D1
|
D2
|
b
|
f
|
L
|
H
|
Ds
|
D0
|
Z-d
|
气源接头
|
重量 Kg
|
|
50
|
175
|
135
|
105
|
26
|
3
|
250
|
865
|
160
|
250
|
4月23日
|
M12 × 1.25
|
85
|
|
80
|
210
|
170
|
140
|
30
|
3
|
310
|
1170
|
300
|
300
|
8月23日
|
125
|
|
100
|
250
|
200
|
168
|
32
|
3
|
350
|
1280
|
350
|
350
|
8月25日
|
178
|
|
150
|
340
|
280
|
240
|
38
|
3
|
450
|
1470
|
400
|
400
|
8-34
|
305
|
|
200
|
405
|
345
|
300
|
44
|
3
|
550
|
1650
|
400
|
400
|
12-34
|
M20 × 1.5
|
410
|
|
250
|
470
|
400
|
350
|
48
|
3
|
650
|
1810
|
400
|
400
|
12-41
|
690
|
|
300
|
530
|
460
|
412
|
54
|
4
|
750
|
1960
|
500
|
500
|
16-41
|
770
|
|
350
|
595
|
525
|
475
|
60
|
4
|
850
|
2240
|
500
|
500
|
16-41
|
980
|
|
400
|
670
|
585
|
525
|
66
|
4
|
930
|
2450
|
550
|
550
|
16-48
|
M24 × 1.5
|
1970
|
六、安装使用及维修保养注意事项
1 、阀在安装前应仔细核对型号是否与使用要求符合。
2 、 本阀可 安装在任何工作位置,但应考虑检修和操作的方便。
3 、阀在安装前应对阀体进行密封性试验; 阀在 安装前还应进行三次以上的空载启闭试验,气动闸阀的闸板开关应灵活, 各种轴件不得 有卡阻现象。
4 、安装过程中应清除孔内、密封面及接合面的污垢,检查连接螺栓是否均匀拧紧。
5 、安装完毕要进行密封试验及 气动和 手动操作试验。同时检查 回讯器 在阀门全开或全关状态下能否正确发讯。
6 、 本阀在 使用中,要求将闸板全开全关,不允许将闸阀打开一部分作为调节流量的节流阀使用。否则,在介质流速的冲刷下使密封面损坏。
7 、阀在使用过程中,应定期( 18 个月)在气缸内壁加注少量润滑油。
8 、阀在使用期间,应视其动作频繁程度进行定期检查和维护。
9 、气动 - 手动转换装置上的转换手柄在手动的位置,绝对不允许进行气动操作。
七、可能发生的故障和消除方法
|
可能发生的故障
|
发生故障的原因
|
消除办法
|
|
填料渗漏
|
填料密封圈磨损
|
1 、压紧填料密封圈
|
|
2 、更换密封圈
|
|
活塞往复失灵
|
○形圈磨损或活塞杆变形
|
1 、更换○形圈
|
|
2 、更换活塞杆
|
|
回讯器 失灵
|
回讯器 顶杆与活塞上下两端点有差距或 回讯器 零件损件
|
1 、调整 回讯器 顶杆
|
|
2 、更换 回讯器
|
八、订货须知
1 、订货时请注明闸阀的型号、公称压力、公称通径、流通介质、实际工作压力、使用温度。如属改装闸阀,需订购包括支架在内的气缸体时,还需提供阀体大盖与支架连接部位的尺寸,气缸与阀体、闸板装接的相对位置尺寸等有关资料。
2 、订货时还请注意订购 何种回讯器 ,或提供 回讯器 接头螺纹尺寸。
3 、用户有特殊要求,或选用特大型气动闸阀 (DN600 以上 ) 时,本公司可为专业设计制造。