一、产品用途
楔式闸阀是闸阀系列中常用的产品,其闸板采用弹性5度斜度结构,密封性能好,闸板和阀座的密封面采用不同硬度的司太立(Stellite)钴基硬质合金堆焊而成,密封可靠、硬度高、耐磨、耐高温、耐腐蚀、抗擦伤性能好、寿命长,广泛适用于石油化工,火力发电厂等油品、水蒸气管路上作接通或截断管路中介质的启闭装置。
二、产品特点
1、结构设计合理、阀门刚性好、通道流畅,流量系数小
2、密封面采用不锈钢和硬质合金,使用寿命长
3、采用柔性石墨填料、密封可靠,操作轻便灵活
4、驱动方式为手动、气动、电动、齿轮传动
5、结构形式为弹性楔式单闸板、刚性楔式单闸板或双闸板型式
三、执行标准
设计规范:GB/T 12234
结构长度:GB/T 12221
连接法兰:JB/T 79
试验与检验:JB/T 9092
压力-温度:GB/T 9131
产品标识:GB/T 12220
四、产品性能规范
|
楔式闸阀主要性能规范
|
|
公称压力(Mpa)
|
实验压力
|
工作温度(℃)
|
|
强度(水)(Mpa)
|
密封(水)空气
|
低压密封空气(Mpa)
|
|
1.6
|
2.4
|
1.76
|
0.6
|
350
|
|
2.5
|
3.75
|
3.75
|
0.6
|
|
4
|
6
|
4.4
|
0.6
|
|
6.4
|
9.6
|
7.04
|
0.6
|
|
10
|
15
|
11
|
0.6
|
五、主要零件材质
|
楔式闸阀主要零件材质
|
|
零件名称
|
材质
|
|
阀体/阀盖
|
WCB
|
CF8
|
CF3
|
|
闸板
|
WCB
|
CF8
|
CF3
|
|
阀杆
|
13Cr
|
304SS
|
316SS
|
|
填料
|
柔性石墨
|
PTFE编织
|
PTFE编织
|
|
垫片
|
304L+石墨
|
304L+PTFE
|
316L+PTFE
|
|
压盖
|
WCB
|
CF8
|
CF3
|
|
填料压环
|
WCB
|
CF8
|
CF8
|
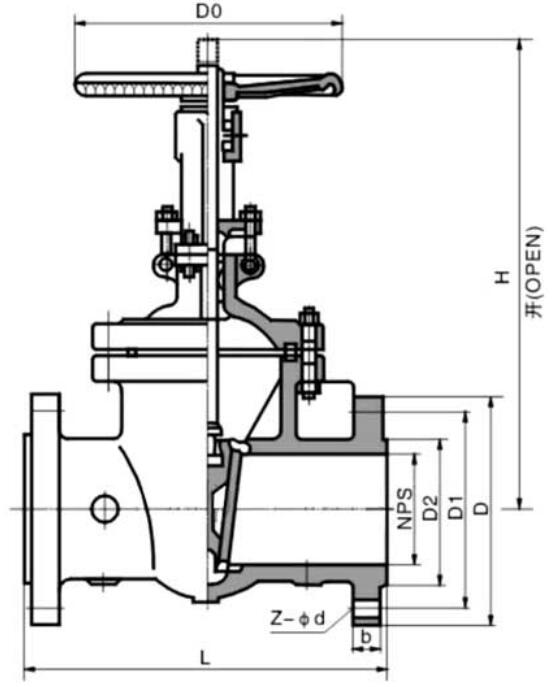
六、主要外形连接尺寸
|
楔式闸阀主要零件材质
|
|
公称压力
|
公称通径
|
尺寸(mm)
|
|
(MPa)
|
L
|
H
|
D0
|
|
1.6
|
15
|
130
|
170
|
120
|
|
20
|
150
|
200
|
120
|
|
25
|
160
|
215
|
140
|
|
2.5
|
32
|
180
|
260
|
160
|
|
40
|
200
|
290
|
200
|
|
50
|
250
|
345
|
220
|
|
65
|
265
|
360
|
240
|
|
80
|
280
|
385
|
280
|
|
100
|
300
|
430
|
300
|
|
125
|
325
|
520
|
320
|
|
150
|
350
|
610
|
350
|
|
200
|
400
|
765
|
400
|
|
250
|
450
|
895
|
450
|
|
300
|
500
|
1145
|
500
|
|
350
|
550
|
1200
|
550
|
|
400
|
600
|
1400
|
600
|
|
450
|
650
|
1500
|
650
|
|
500
|
700
|
1630
|
700
|
|
600
|
800
|
1830
|
800
|
|
公称压力
|
公称通径
|
尺寸(mm)
|
|
(MPa)
|
L
|
H
|
Do
|
|
4.0
|
15
|
130
|
170
|
120
|
|
20
|
150
|
200
|
120
|
|
25
|
160
|
215
|
140
|
|
32
|
180
|
260
|
160
|
|
40
|
200
|
290
|
200
|
|
50
|
250
|
345
|
220
|
|
65
|
280
|
360
|
240
|
|
80
|
310
|
385
|
280
|
|
100
|
350
|
430
|
300
|
|
125
|
400
|
530
|
320
|
|
150
|
450
|
620
|
350
|
|
200
|
550
|
780
|
400
|
|
250
|
650
|
900
|
450
|
|
6.4
|
15
|
170
|
175
|
120
|
|
20
|
190
|
200
|
120
|
|
25
|
210
|
215
|
140
|
|
32
|
230
|
270
|
160
|
|
40
|
240
|
300
|
200
|
|
50
|
250
|
370
|
220
|
|
65
|
280
|
385
|
240
|
|
80
|
310
|
400
|
280
|
|
100
|
350
|
460
|
300
|
|
125
|
400
|
570
|
320
|
|
150
|
450
|
660
|
350
|
|
200
|
550
|
820
|
400
|
|
250
|
650
|
1000
|
450
|
七、结构图片